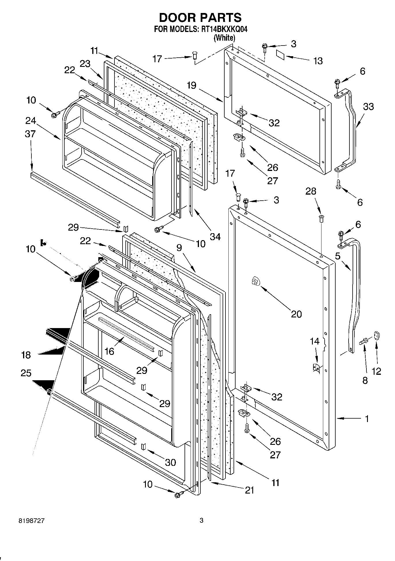
RT14BKXKQ04 02 – DOOR PARTSadmin2025-04-26T12:50:28+00:00RT14BKXKQ04 02 – DOOR PARTS ProductsPositionProduct1Refrigerator Door Panel (Also Order Item 11) (White)3WP8281206 Whirlpool Refrigerator Screw5HANDLE6WP489357 Whirlpool Recessed Screw8WP8281146 Whirlpool Screw92188448A Whirlpool Refrigerator Door Gasket Seal10WP489442 Whirlpool Refrigerator Screw11WPL 87602912WP2202819W Whirlpool Refrigerator Cover13Nameplate (White)14WP939101 Whirlpool Refrigerator Plate15Interior Door Panel (Refrigerator)17WP2183003 Whirlpool Thimble19Freezer Door Panel (Also Order Item 11) (White)20WP2189000 Whirlpool Refrigerator Handle Plug21Gasket, Retainer22Retainer, Gasket232188462A Whirlpool Freezer Door Gasket24Interior Door Panel (Freezer)25Trim, Door (Middle)26Bracket, Door Stop27WP488921 Whirlpool Refrigerator Screw28WP2212648 Whirlpool Refrigerator Hinge Sleeve Hole Plug29ENDCAP-TRM30WP2156006 Whirlpool Refrigerator Shelf Trim Endcap32W10833053 Whirlpool Refrigerator Plate33HANDLE34Retainer, Gasket37WP2163629 Whirlpool Refrigerator Door Trim