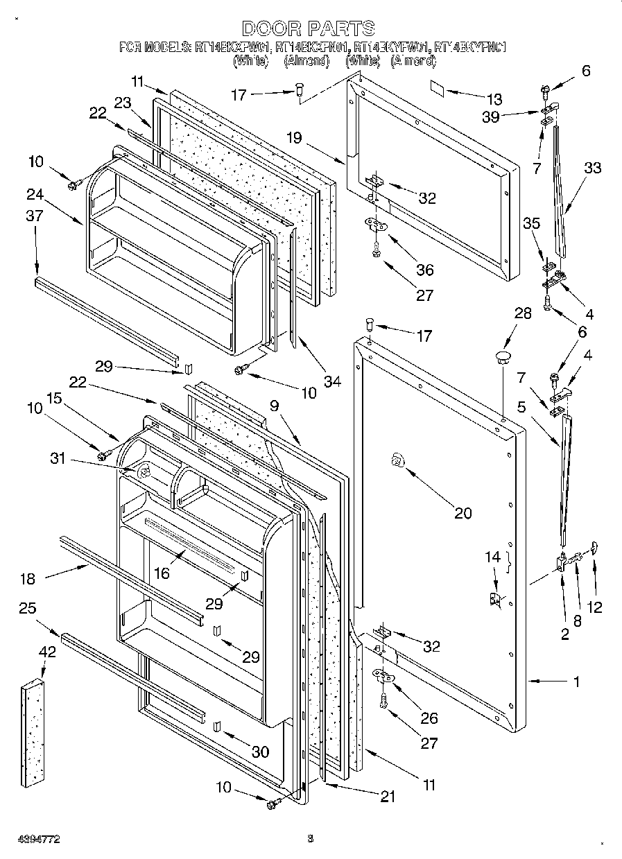
RT14BKYFN01 02 – DOOR