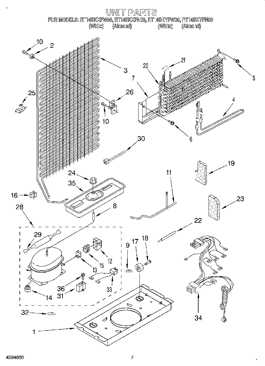
RT14BKYFW00 04 – UNIT

RT14BKYFW00 04 – UNIT