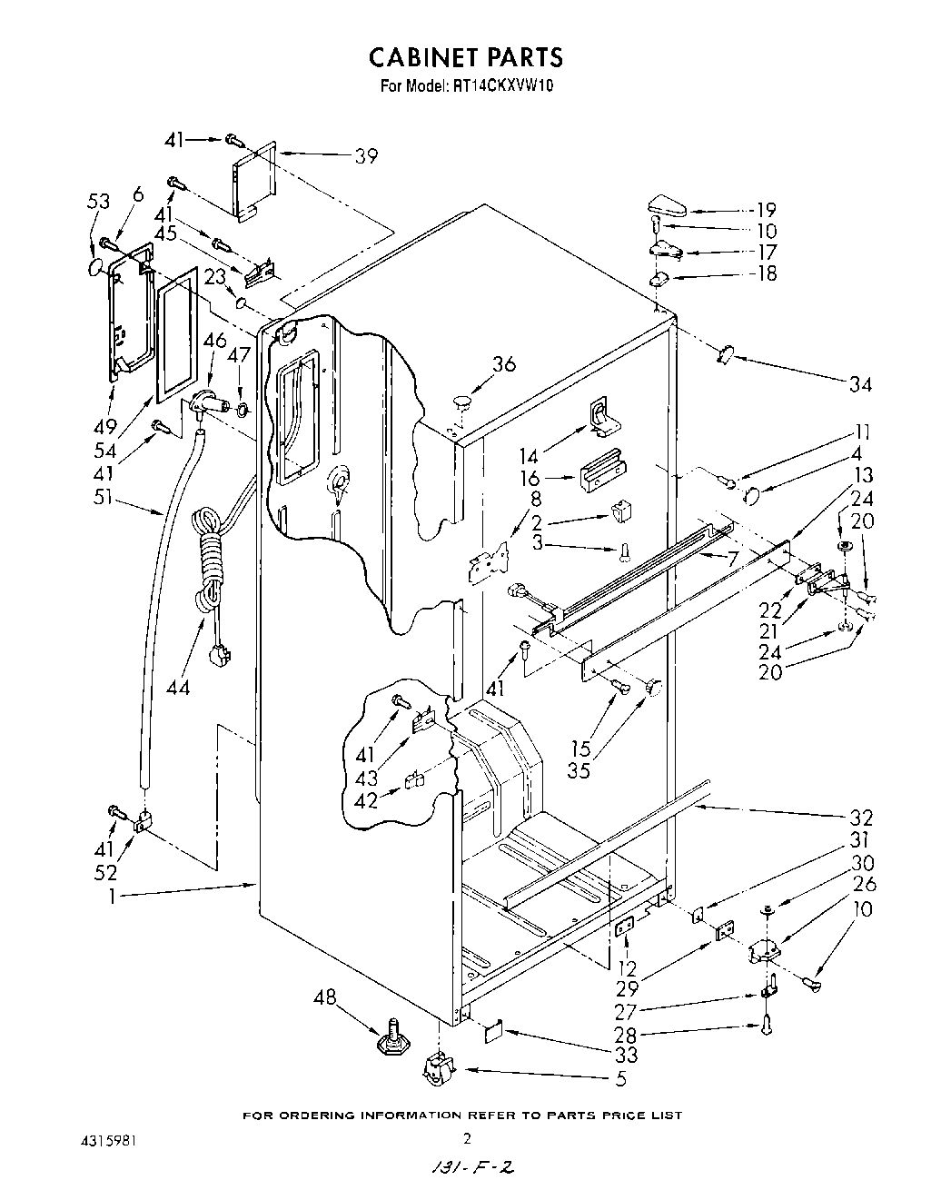
RT14CKXVW10 02 – CABINET

RT14CKXVW10 02 – CABINET