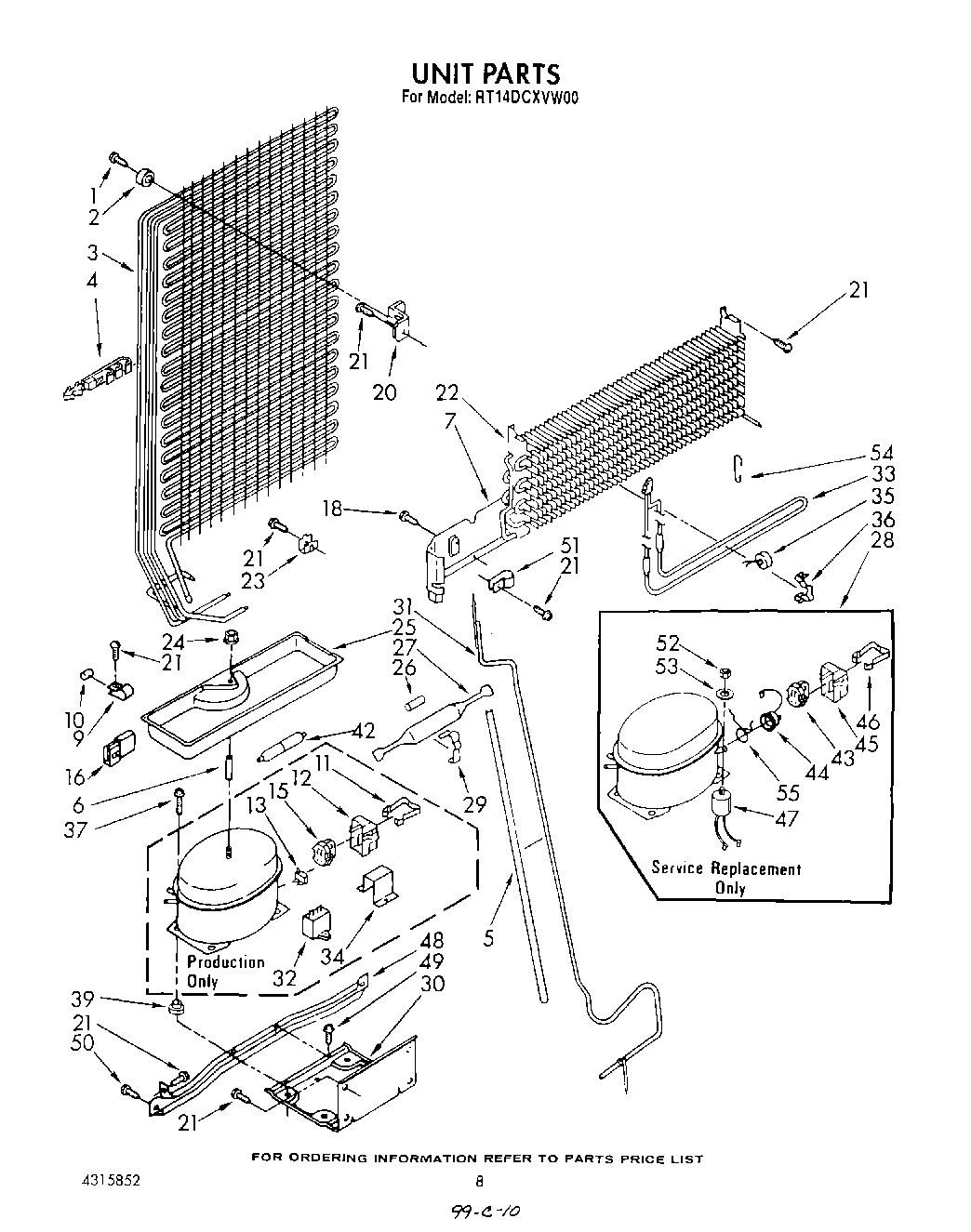
RT14DCXVW00 07 – UNIT