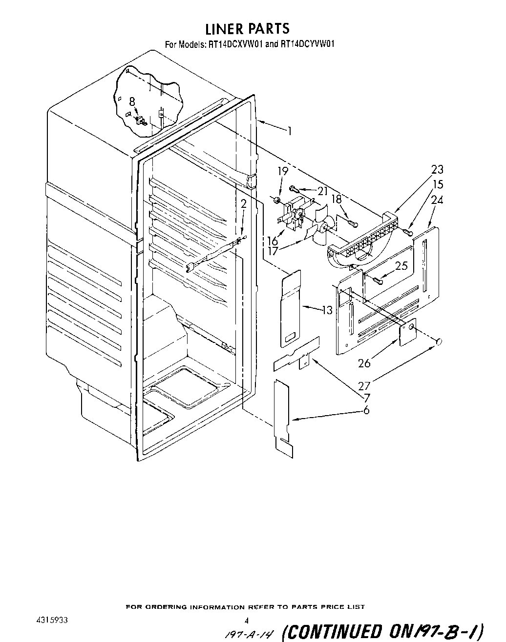
RT14DCXVW01 03 – LINER