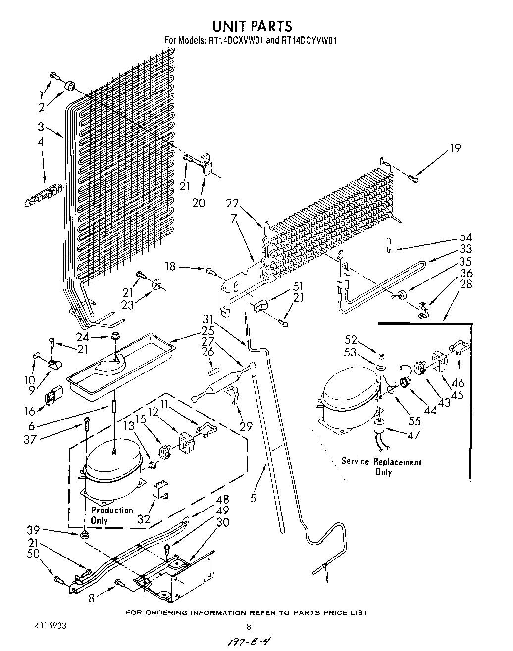
RT14DCXVW01 07 – UNIT