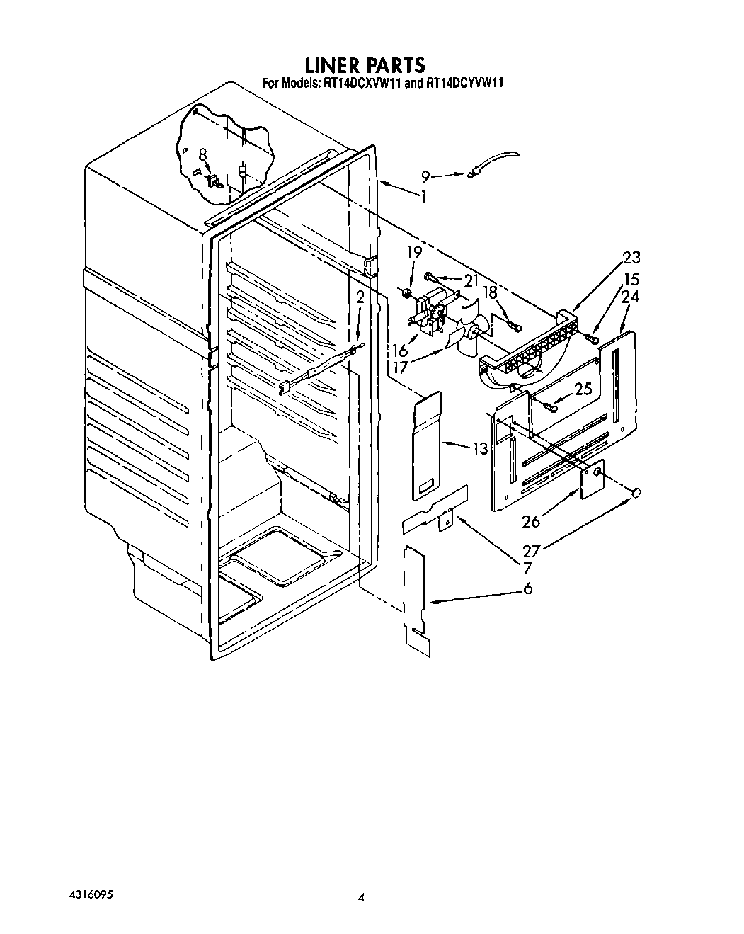
RT14DCXVW11 03 – LINER