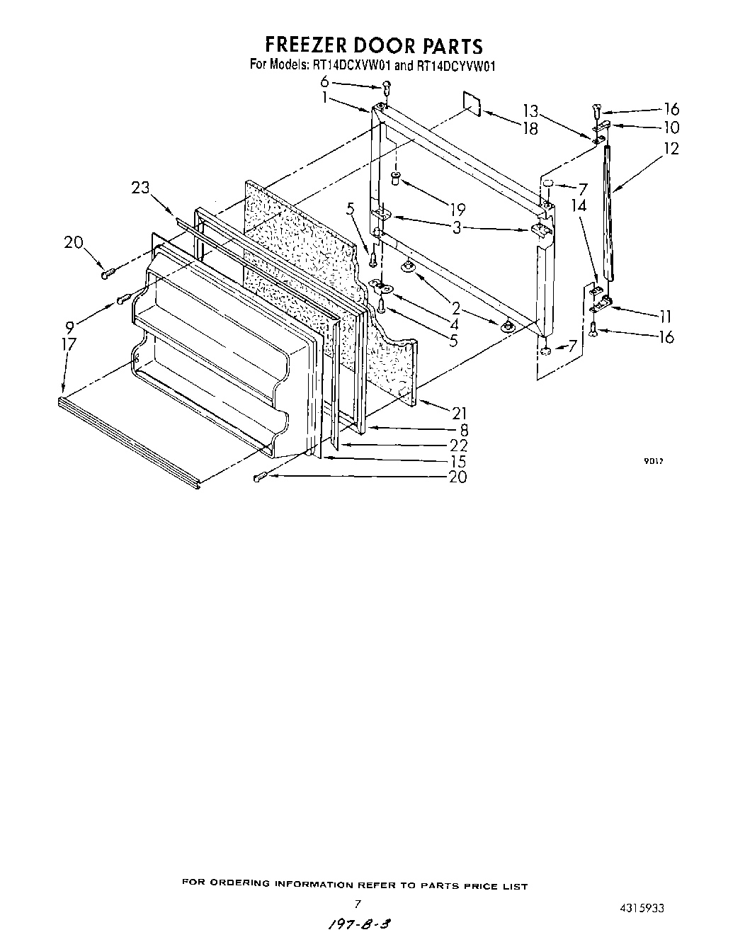
RT14DCYVG01 06 – FREEZER DOOR