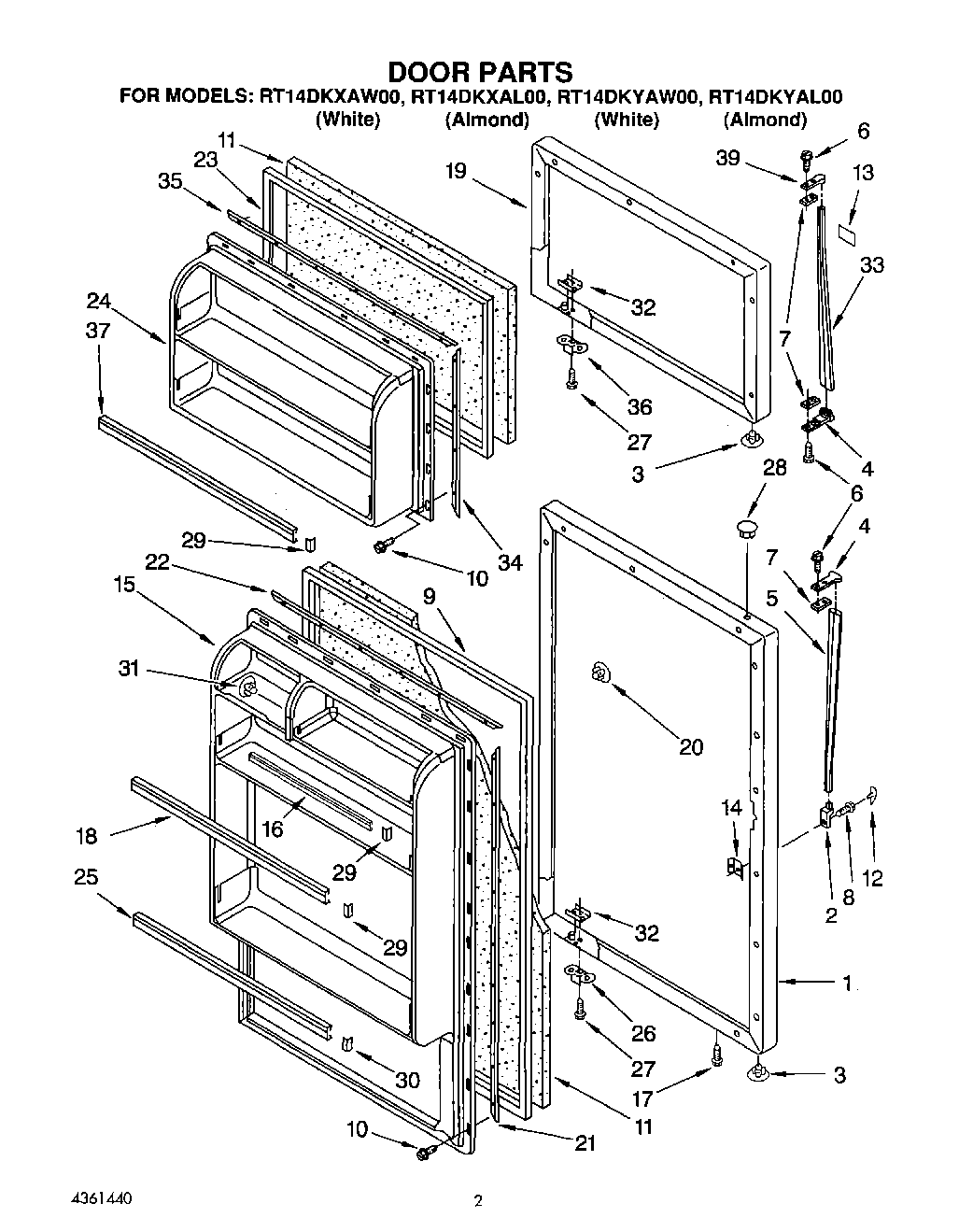
RT14DKXAW00 02 – DOOR