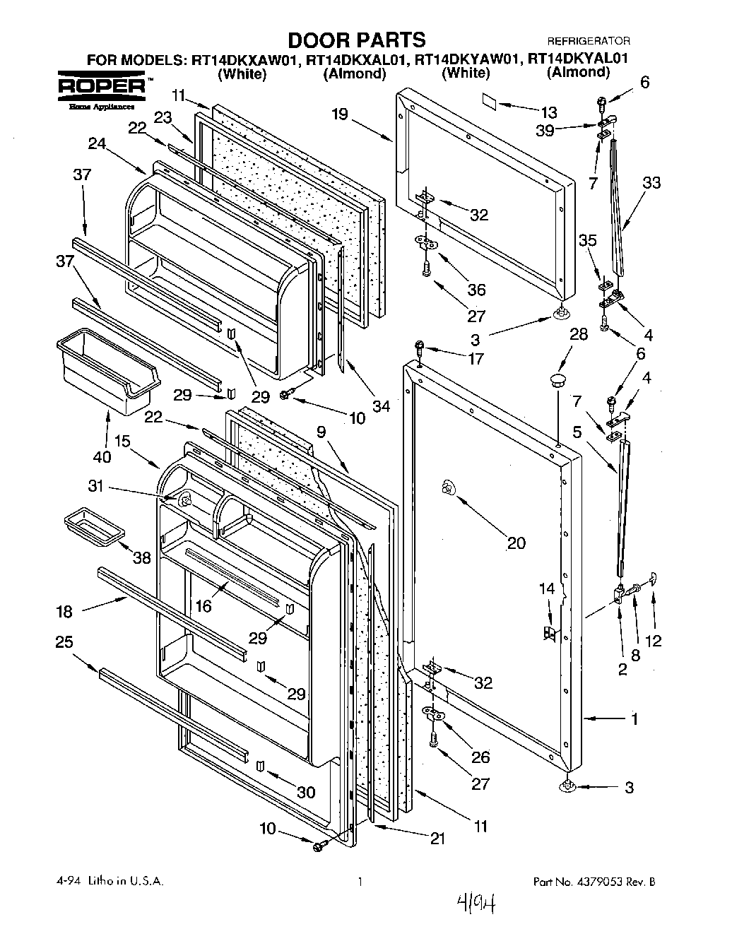
RT14DKXAW01 01 – DOOR