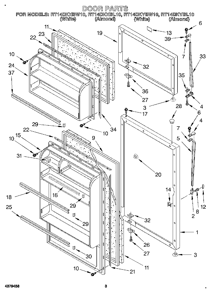
RT14DKXBL10 02 – DOOR