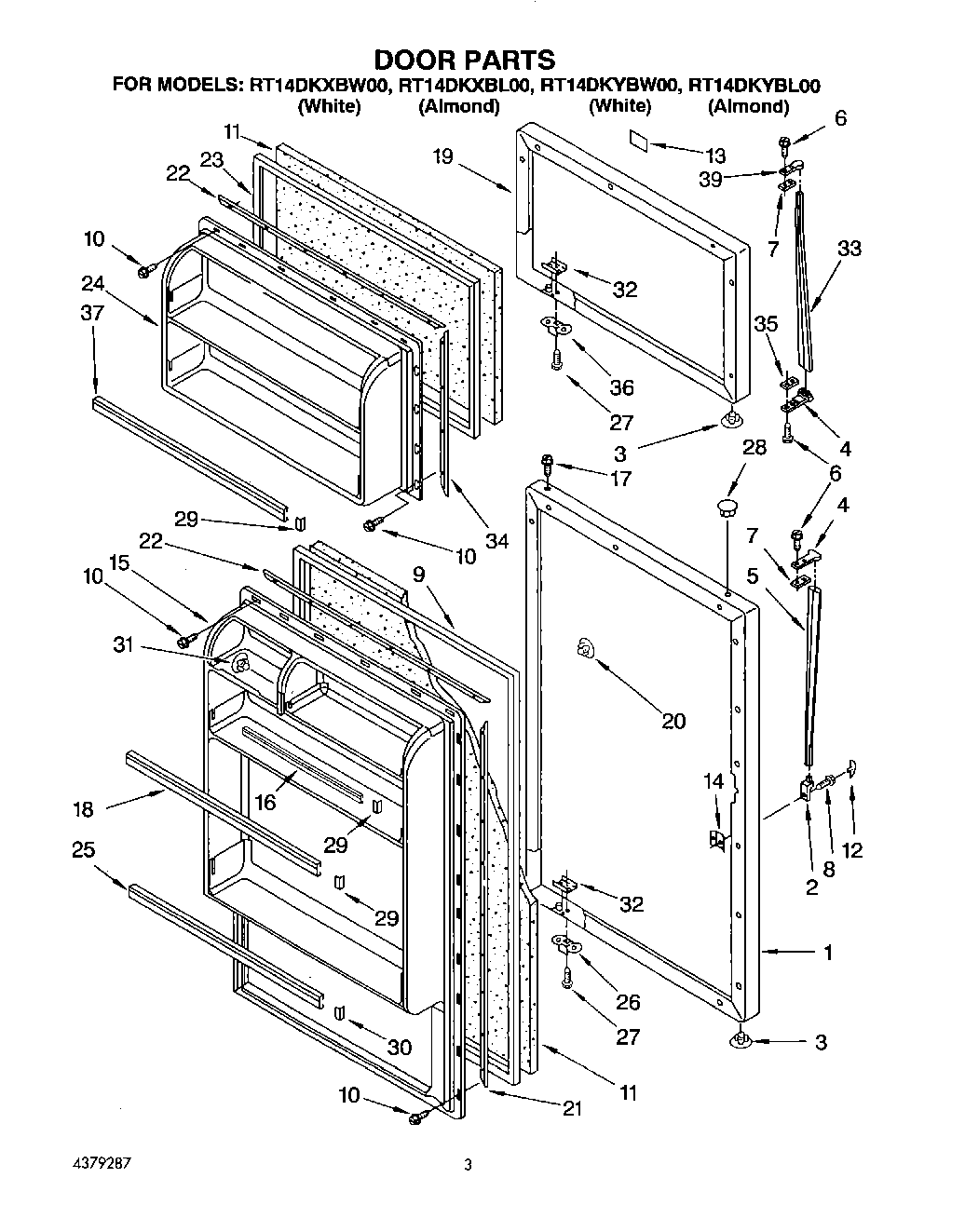
RT14DKXBW00 02 – DOOR