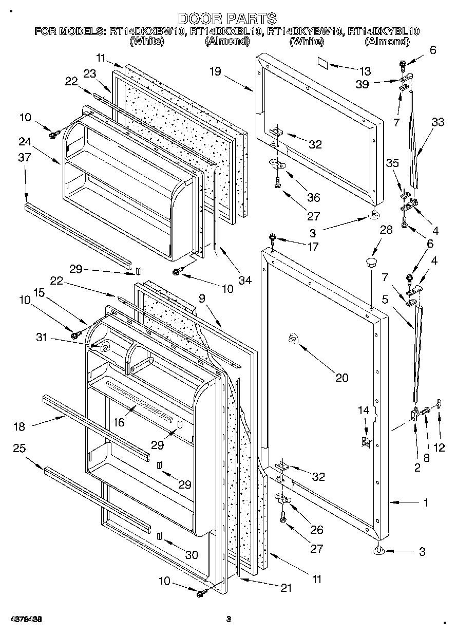
RT14DKXBW10 02 – DOOR