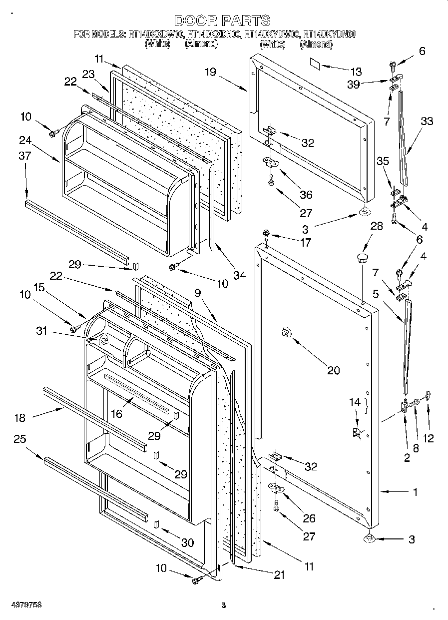
RT14DKXDW00 02 – DOOR