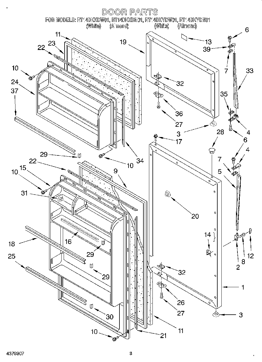
RT14DKXDW01 02 – DOOR