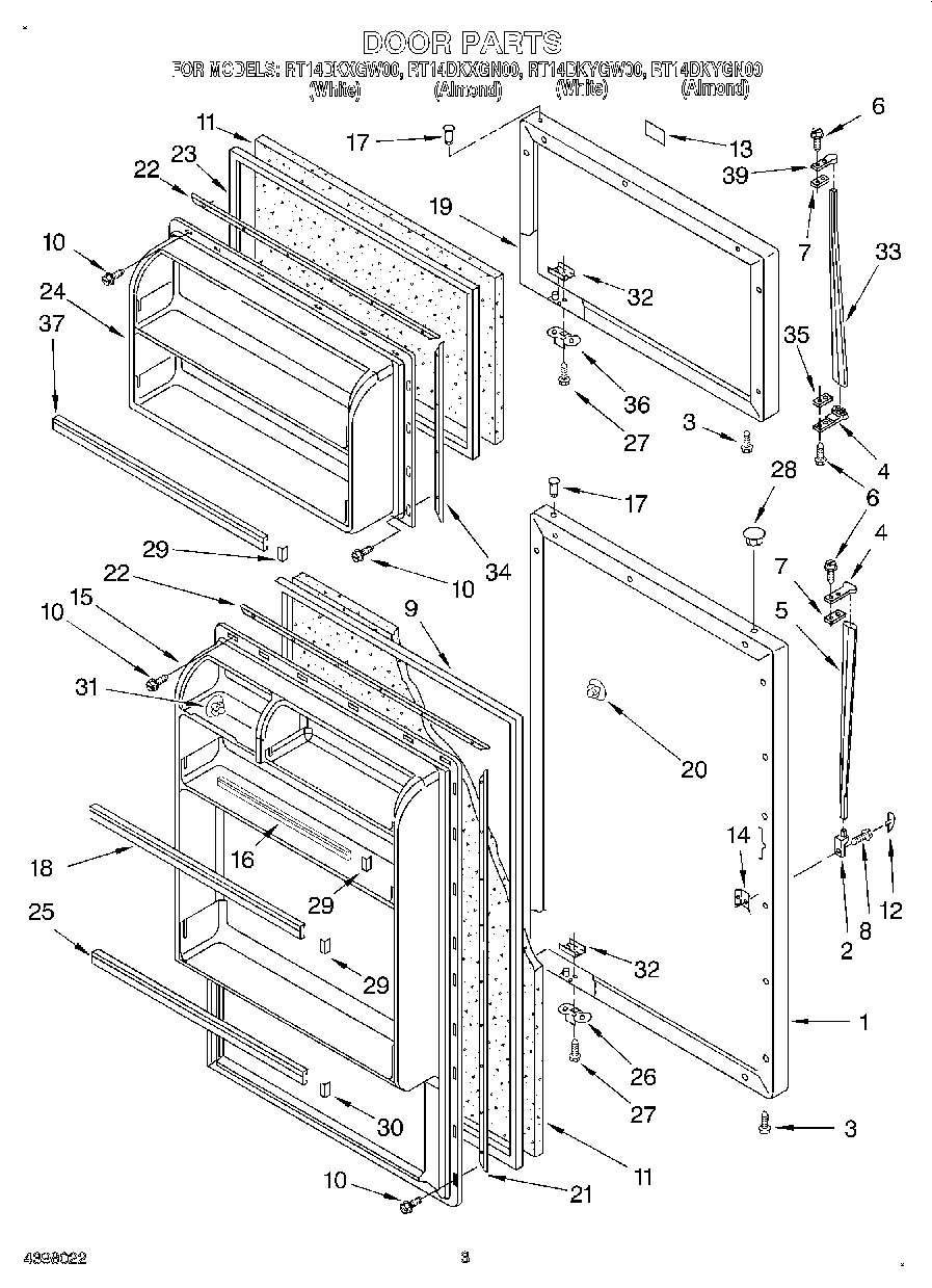
RT14DKXGW00 02 – DOOR