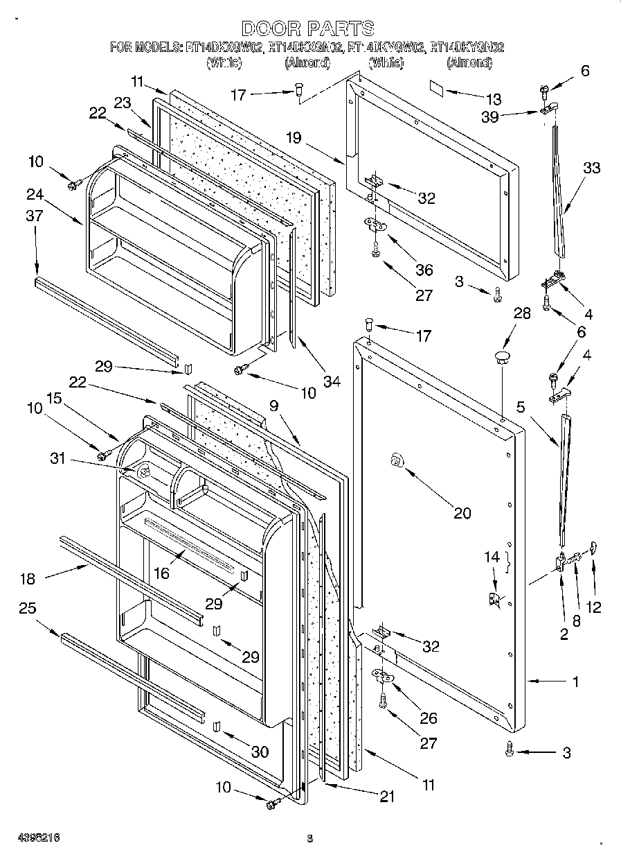
RT14DKXGW02 02 – DOOR