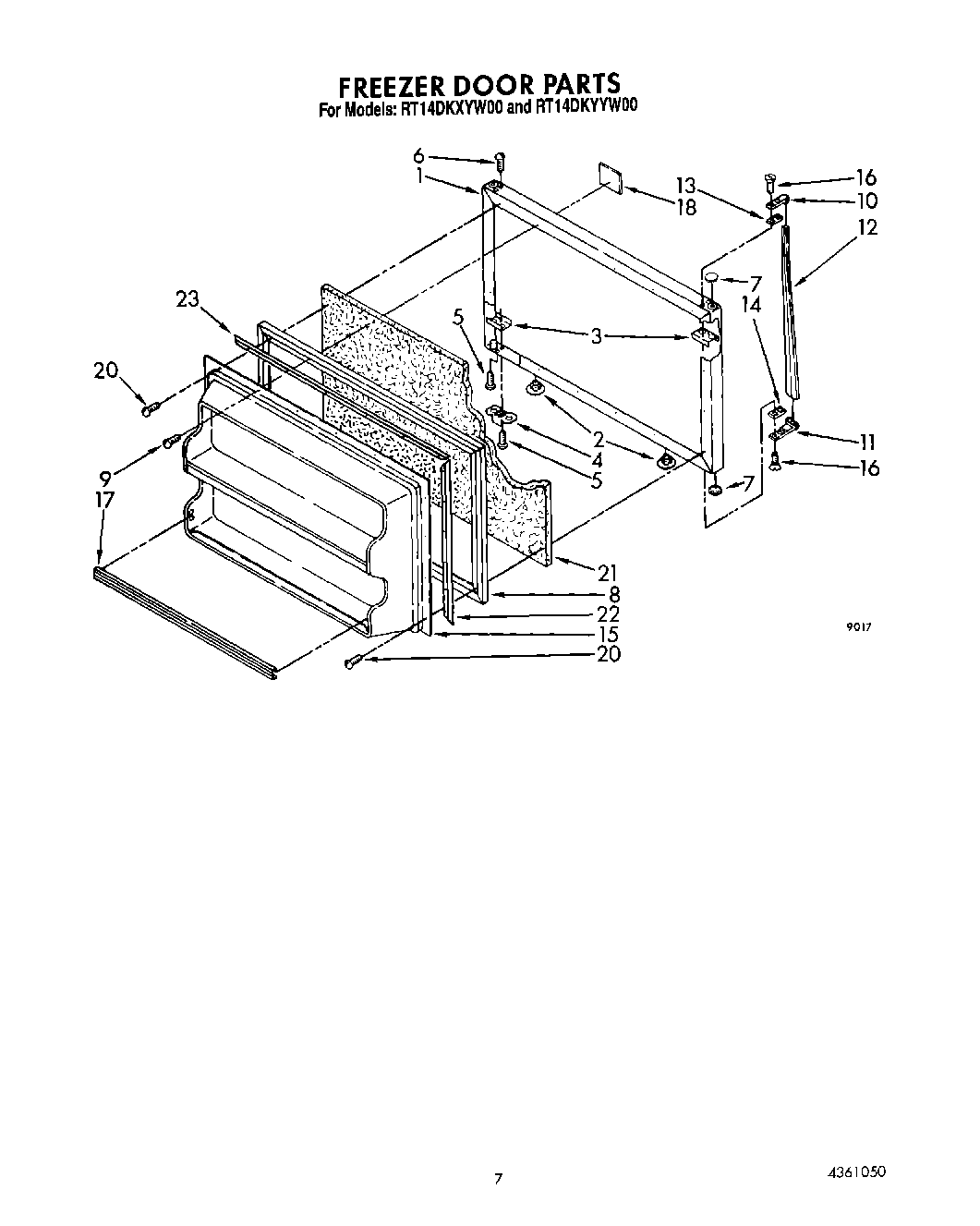
RT14DKXYW00 05 – FREEZER DOOR