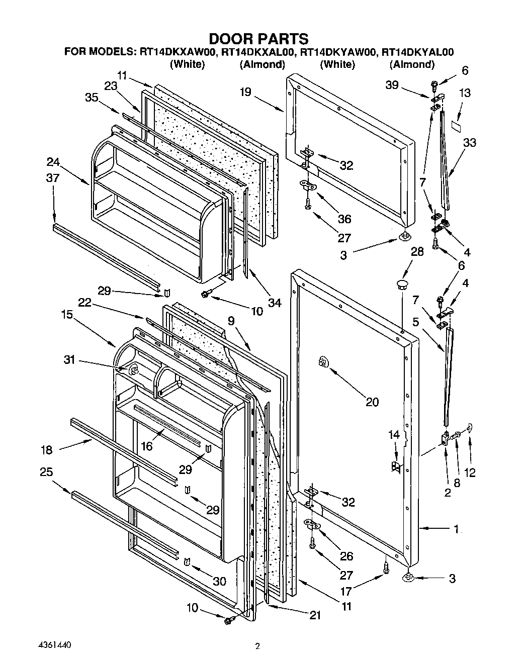
RT14DKYAL00 02 – DOOR