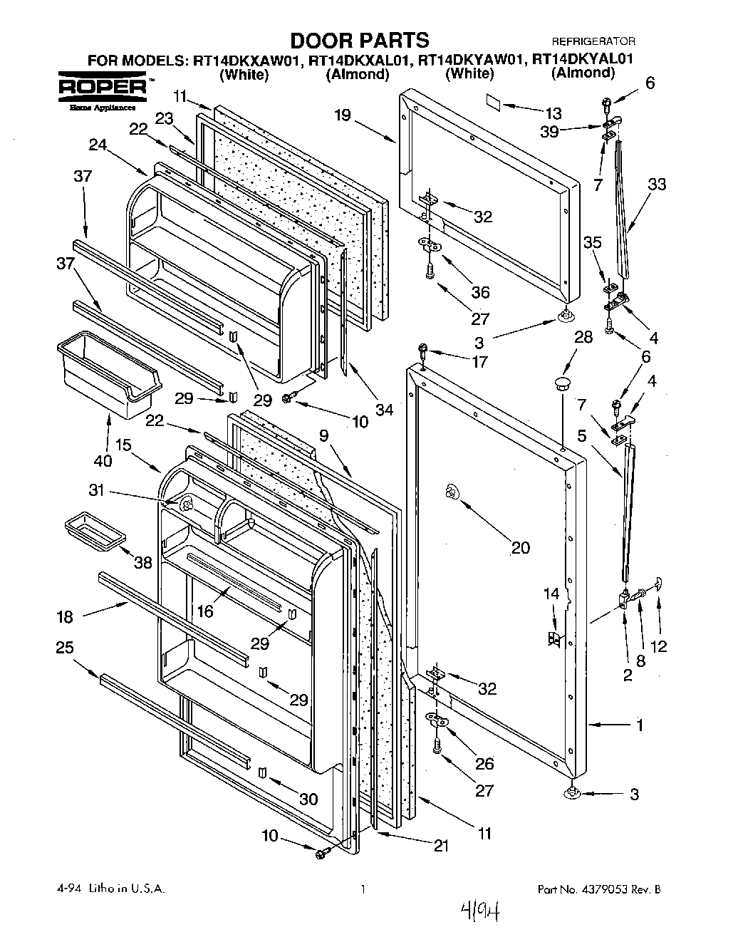
RT14DKYAL01 01 – DOOR