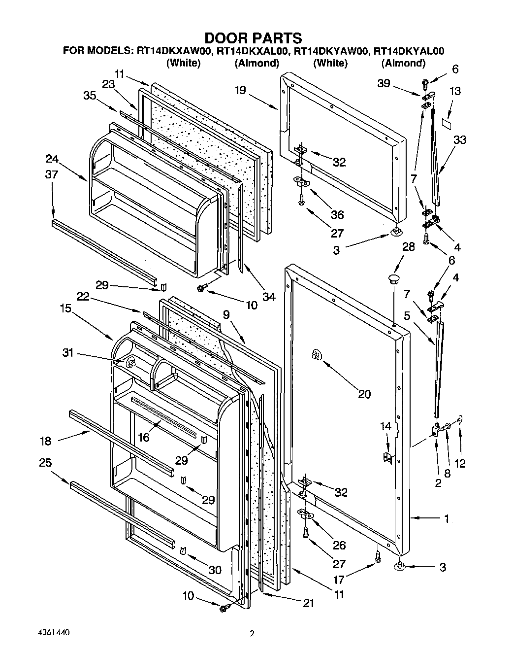
RT14DKYAW00 02 – DOOR