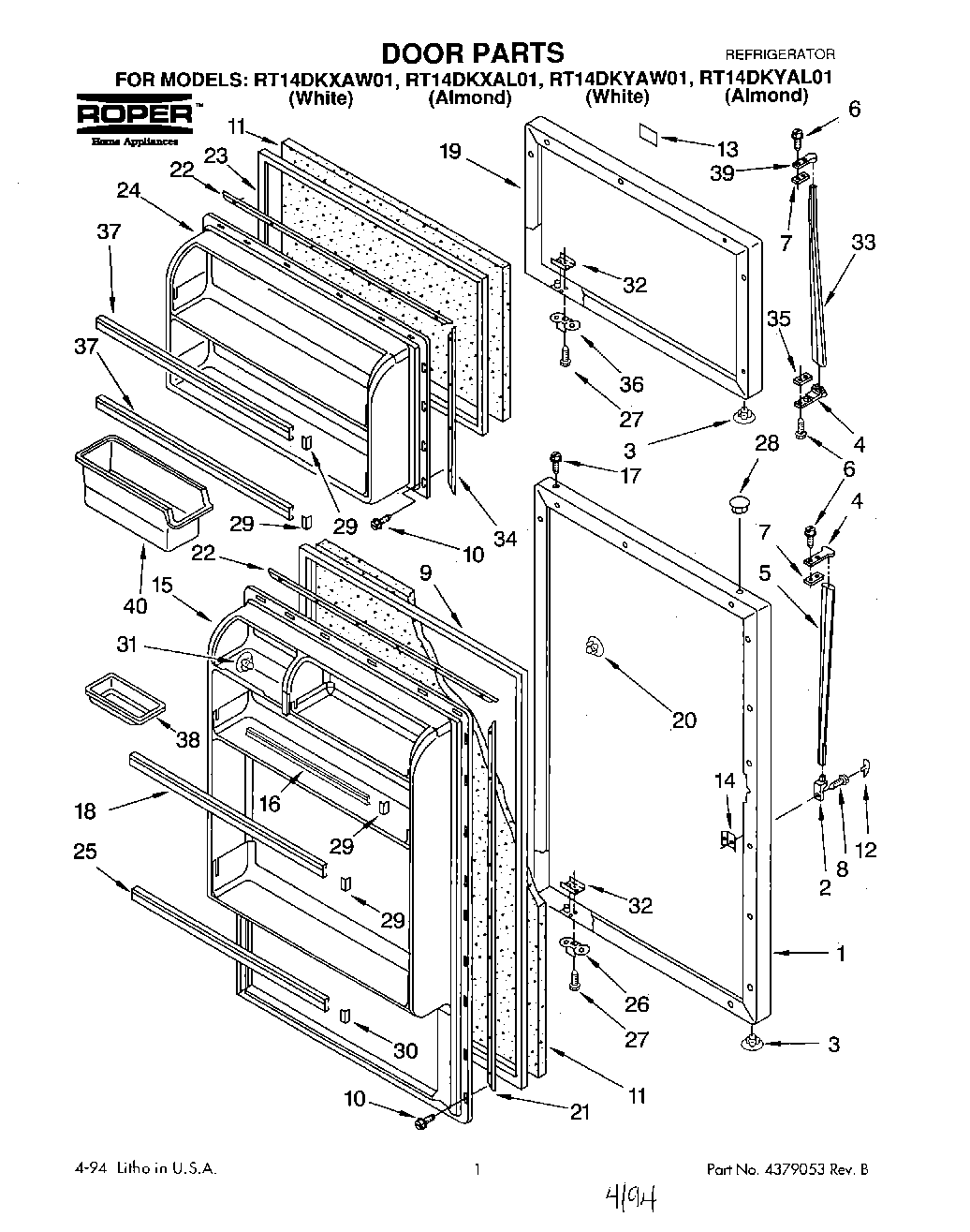
RT14DKYAW01 01 – DOOR