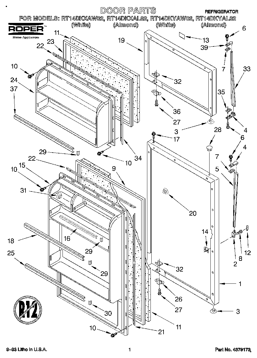
RT14DKYAW02 01 – DOOR