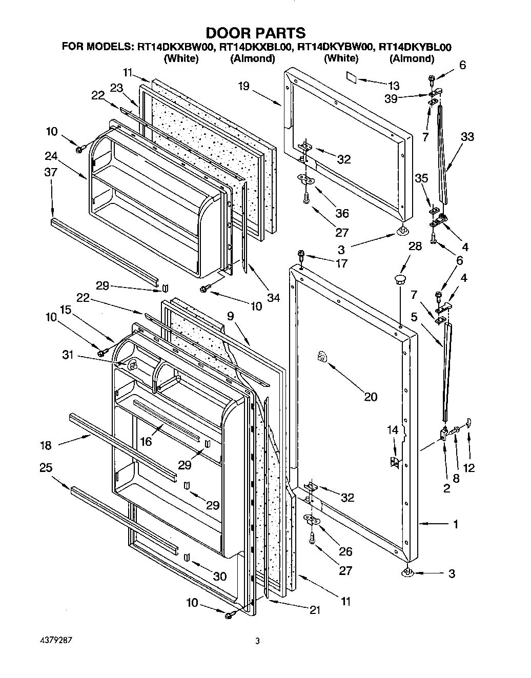
RT14DKYBL00 02 – DOOR