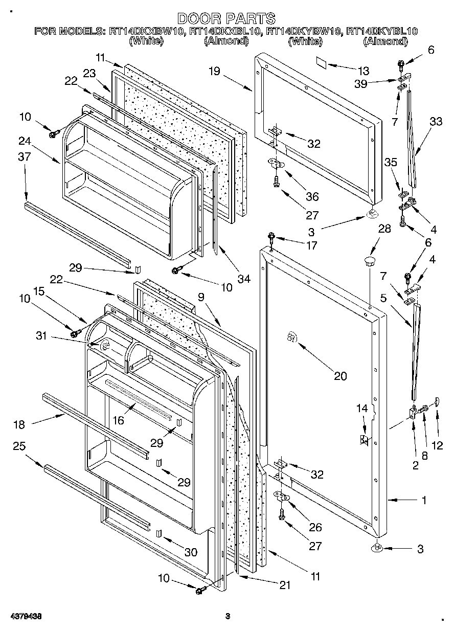
RT14DKYBL10 02 – DOOR