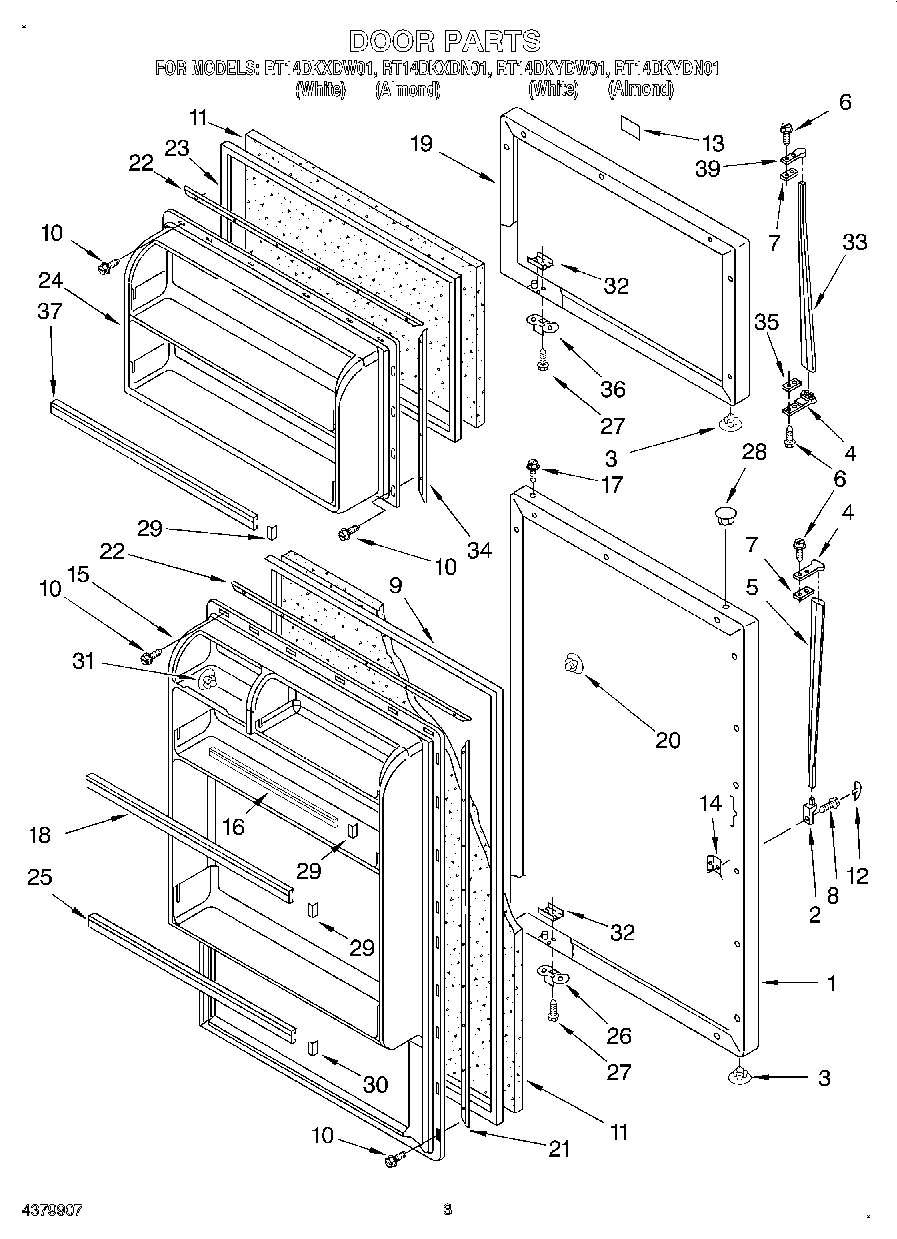
RT14DKYDW01 02 – DOOR