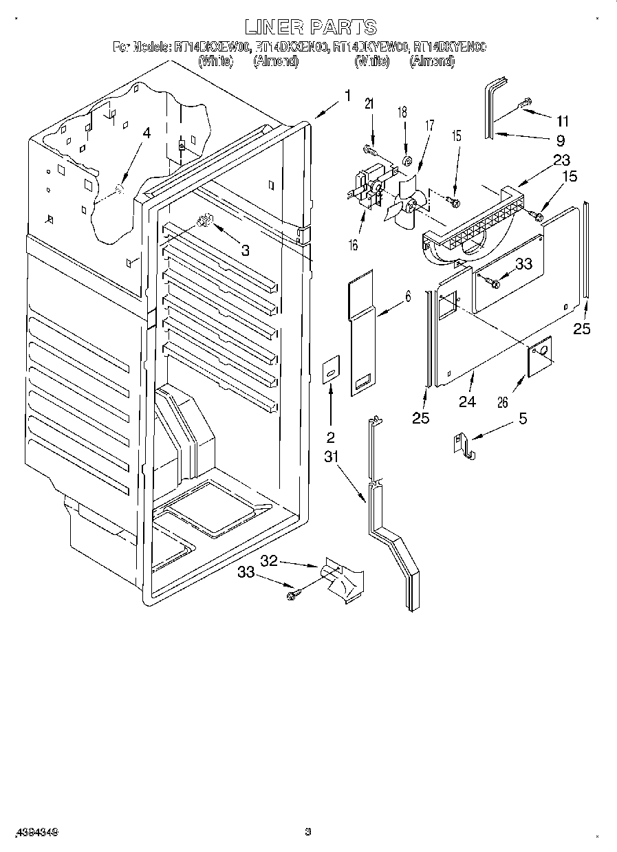
RT14DKYEN00 02 – LINER