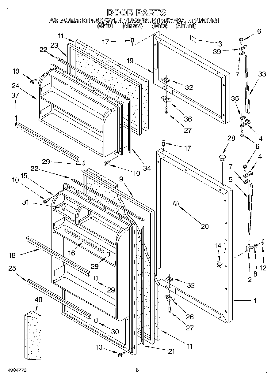
RT14DKYFN01 02 – DOOR