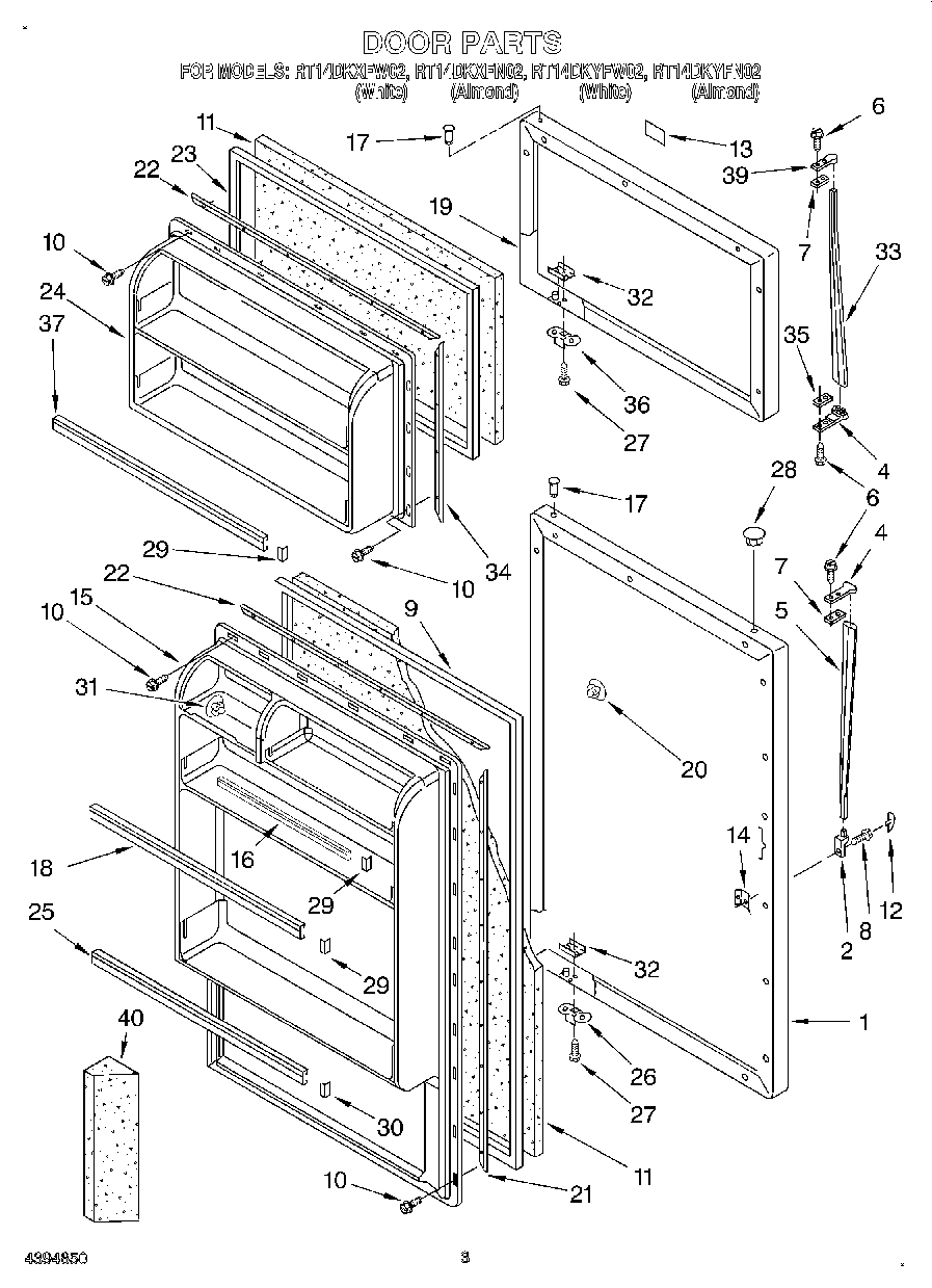
RT14DKYFN02 02 – DOOR