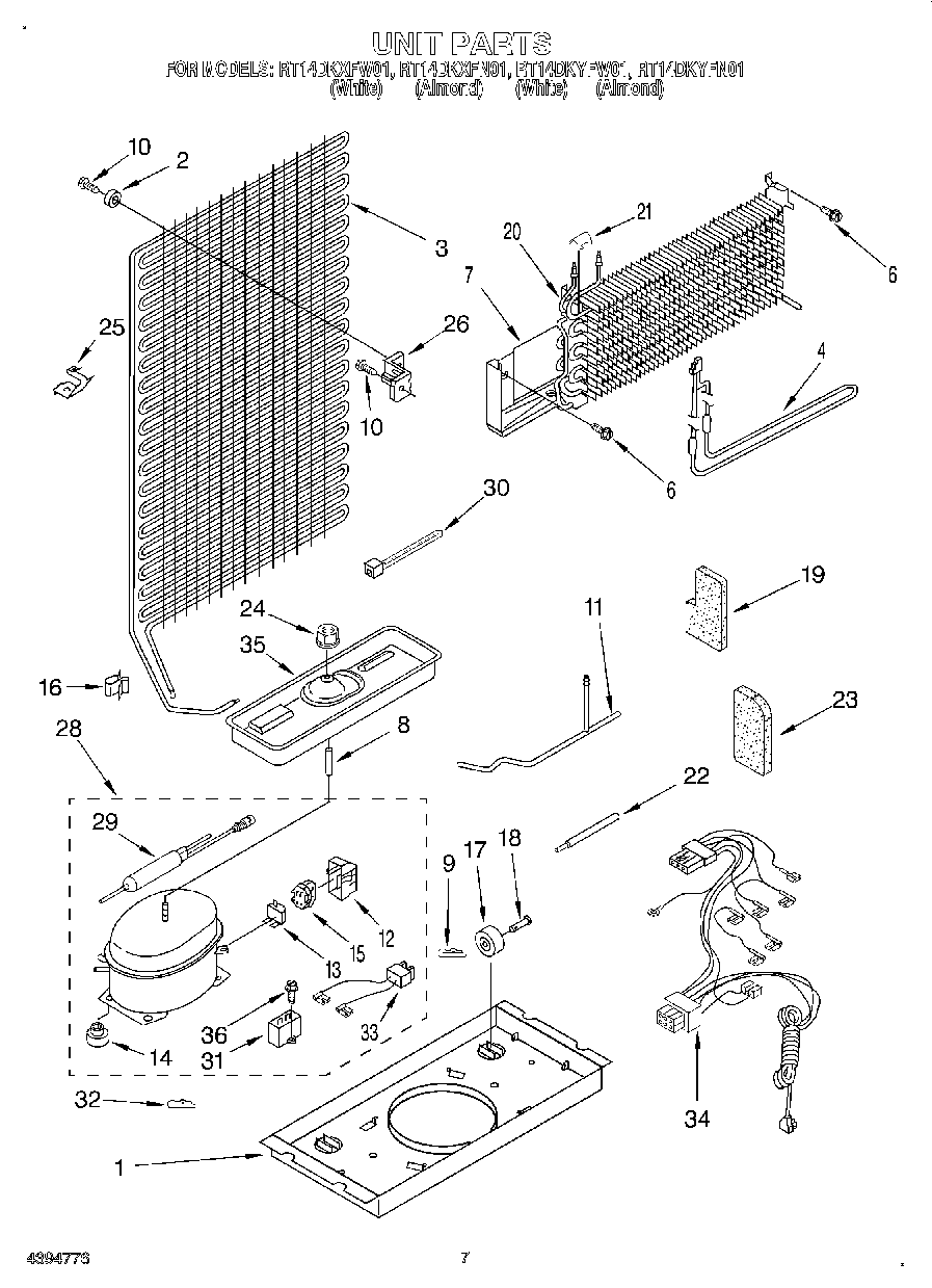
RT14DKYFW01 04 – UNIT

RT14DKYFW01 04 – UNIT