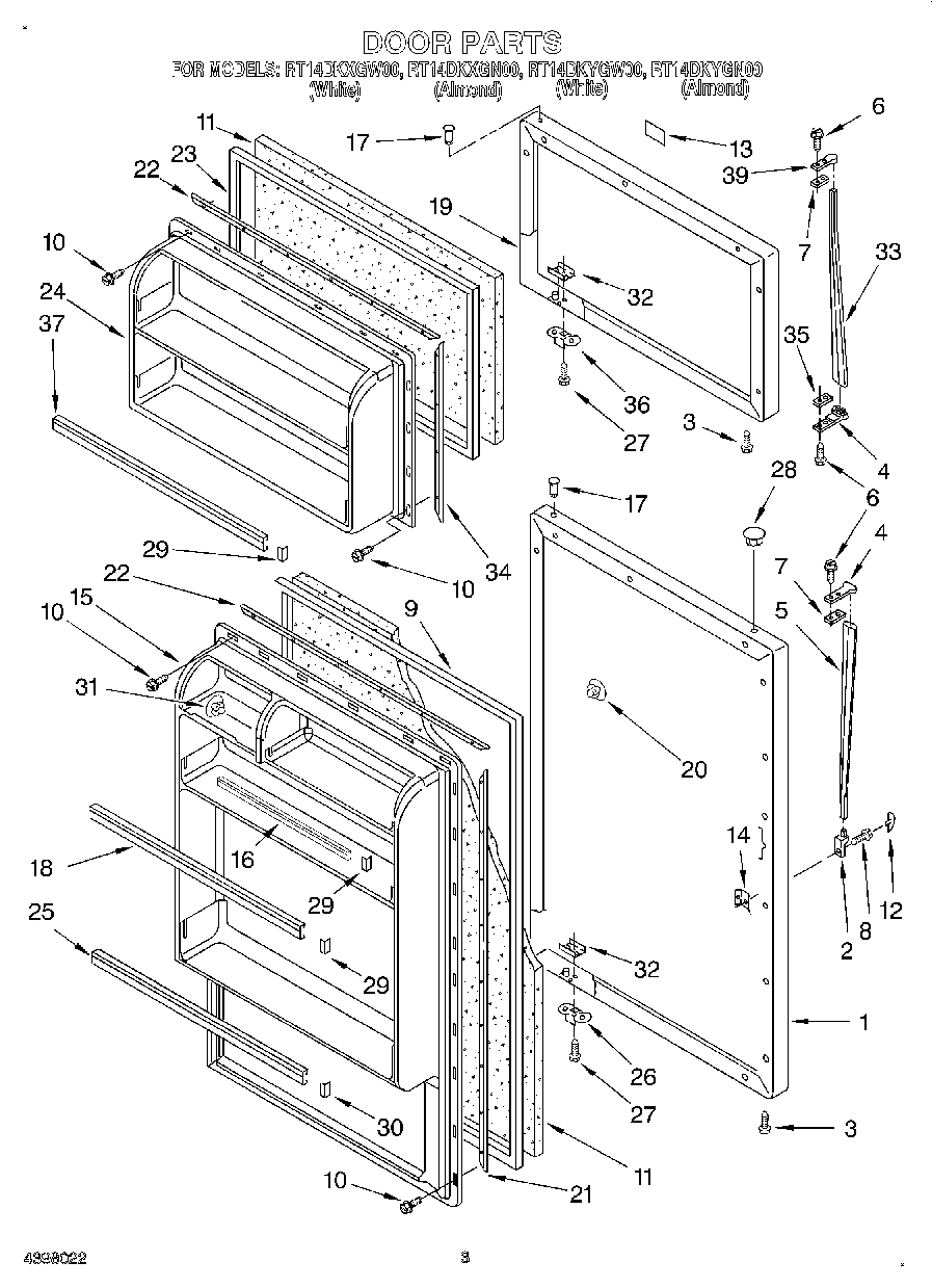
RT14DKYGN00 02 – DOOR