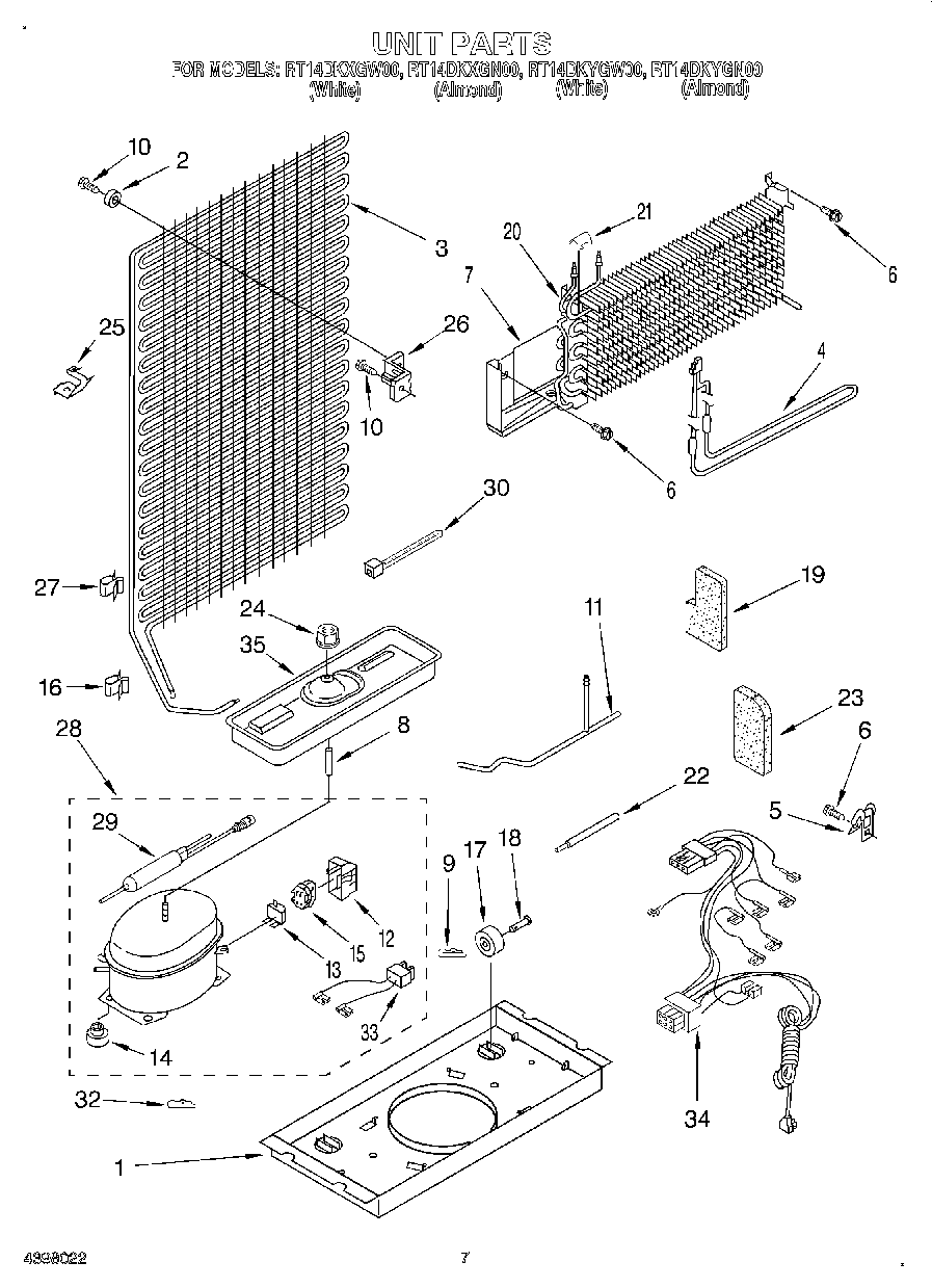
RT14DKYGN00 04 – UNIT

RT14DKYGN00 04 – UNIT