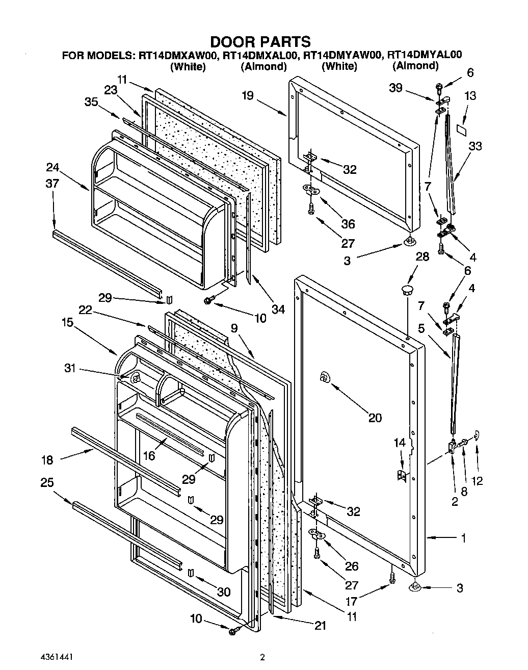
RT14DMXAL00 02 – DOOR