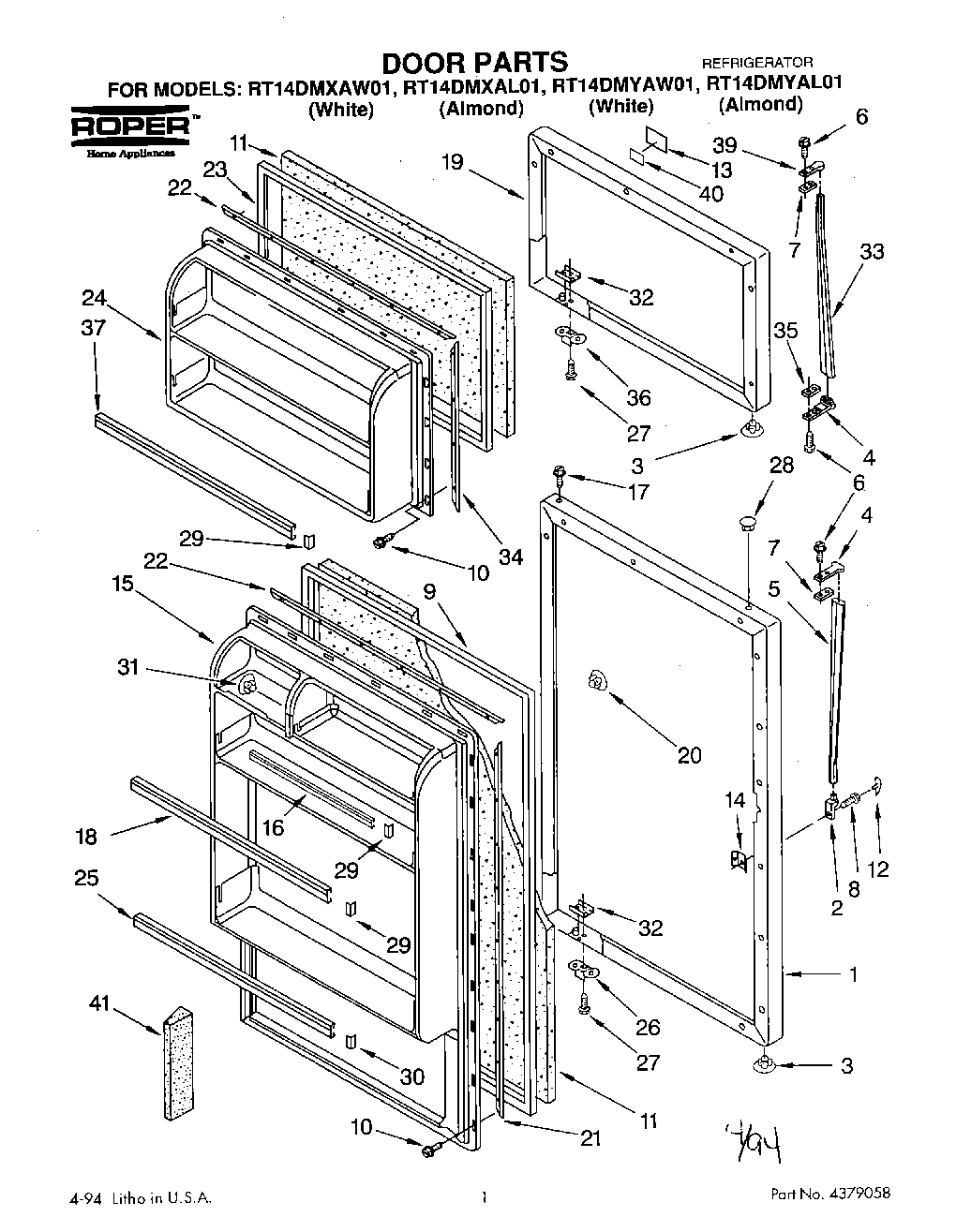
RT14DMXAL01 01 – DOOR