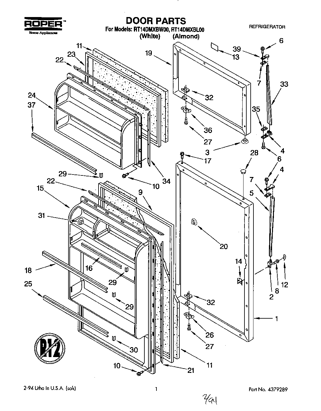
RT14DMXBL00 01 – DOOR