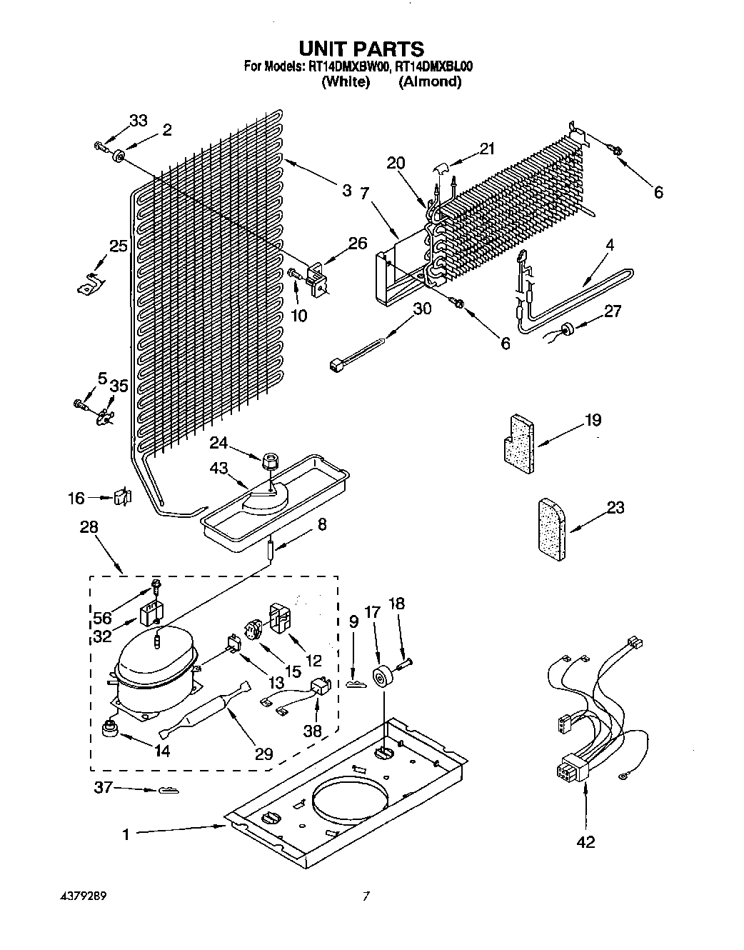
RT14DMXBW00 04 – UNIT

RT14DMXBW00 04 – UNIT