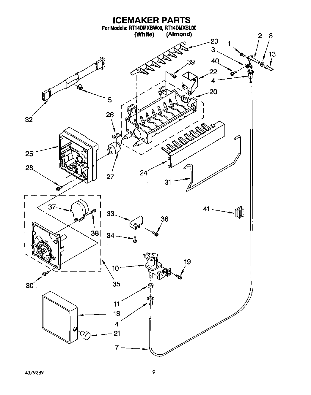
RT14DMXBW00 05 – ICEMAKERadmin2025-04-26T12:49:52+00:00RT14DMXBW00 05 – ICEMAKER ProductsPositionProduct2WP2196157 Whirlpool Fill Tube3WP488878 Whirlpool Refrigerator Tube Clamp44387491 Whirlpool Refrigerator Insert5WP628379 Whirlpool Refrigerator Clip7W10823511 Whirlpool Refrigerator Water Tube8WP1106508 Whirlpool Refrigerator Gasket10VALVE-INLT11WP627018 Whirlpool Refrigerator Nut13Tube, Water Inlet18WPW10289690 Whirlpool Ice Maker Cover19WP250830 Whirlpool Refrigerator Screw20WPW10190929 Whirlpool Refrigerator Ice Maker Mold20WP542638 Whirlpool Refrigerator Grease21Knob, Water22WP628356 Whirlpool Refrigerator Fill Cup23WP627843 Whirlpool Refrigerator Ejector Arm24WP2182124 Whirlpool Refrigerator Stripper Arm25WP2195914 Whirlpool Refrigerator Ice Maker Housing26WP2315522 Whirlpool Refrigerator Clip27WP627985 Whirlpool Icemaker Cycling Thermostat27Cement Alumilastic)288533917 Whirlpool Refrigerator Screw30WP681249 Whirlpool Screw Assembly31WP627792 Whirlpool Refrigerator Shut Off Arm32WP2187464 Whirlpool Refrigerator Wire Harness33W11500948 Whirlpool Refrigerator Bracket34Screw, 8-32 x 27/6436Screw, 8-15 x 1/2 (4)37W10190935 Whirlpool Refrigerator Icemaker Motor Module Assembly38489136 Whirlpool Refrigerator Screw39WP488163 Whirlpool Refrigerator Screw40WP488787 Whirlpool Refrigerator Screw41W11501419 Whirlpool Refrigerator Clip1004317943 Whirlpool Refrigerator Ice Maker Assembly