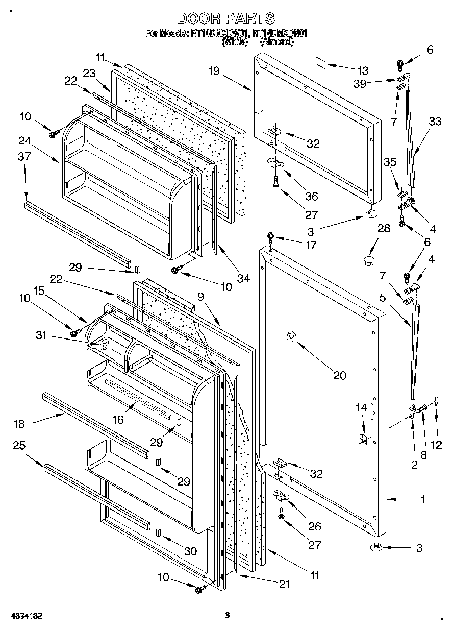
RT14DMXDW01 02 – DOOR