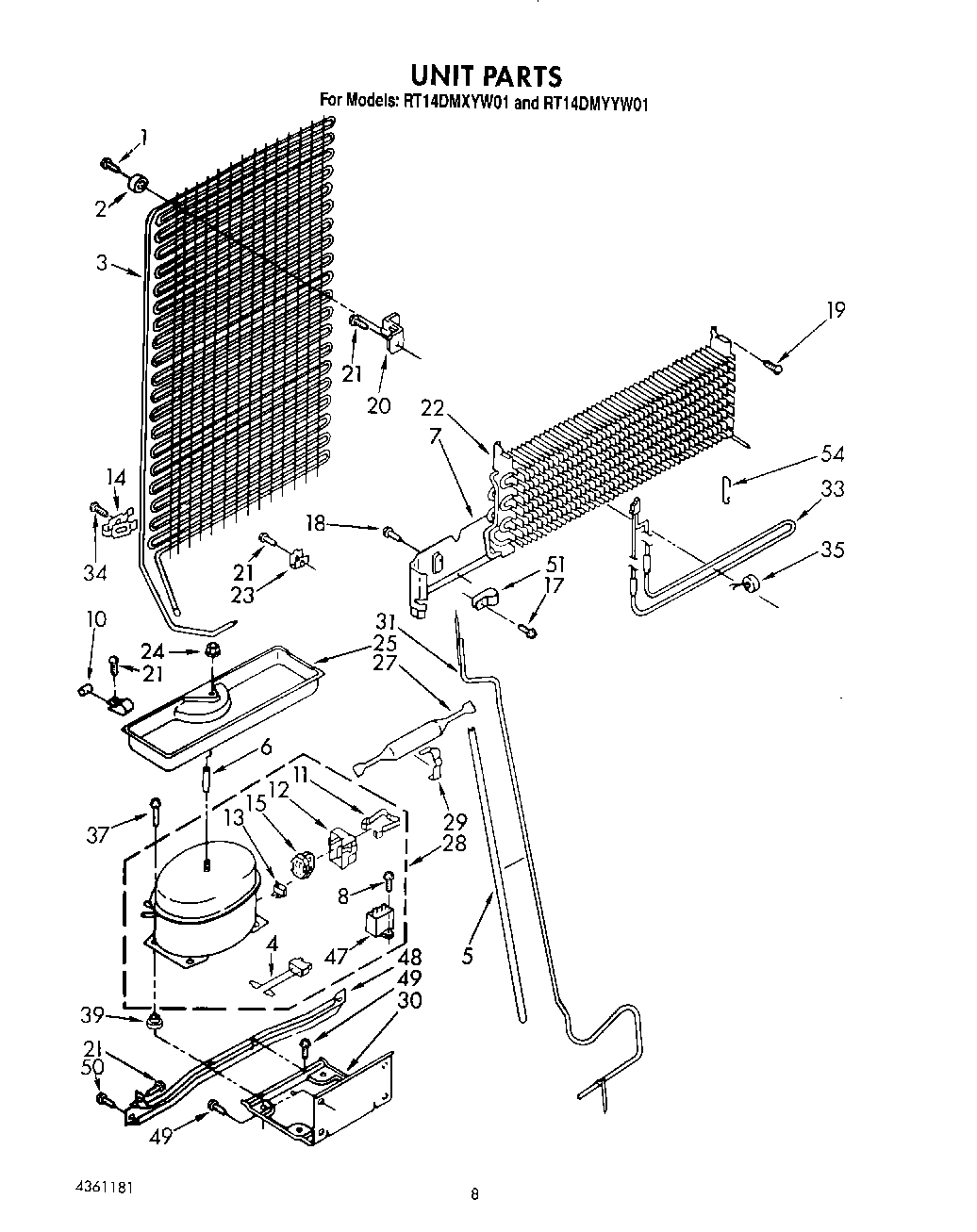
RT14DMXYW01 06 – UNIT