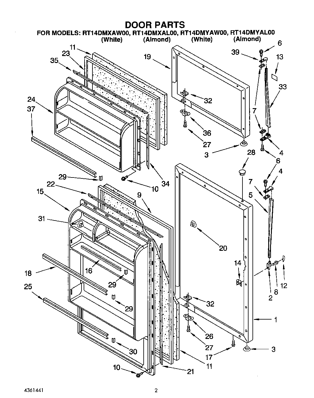
RT14DMYAW00 02 – DOOR