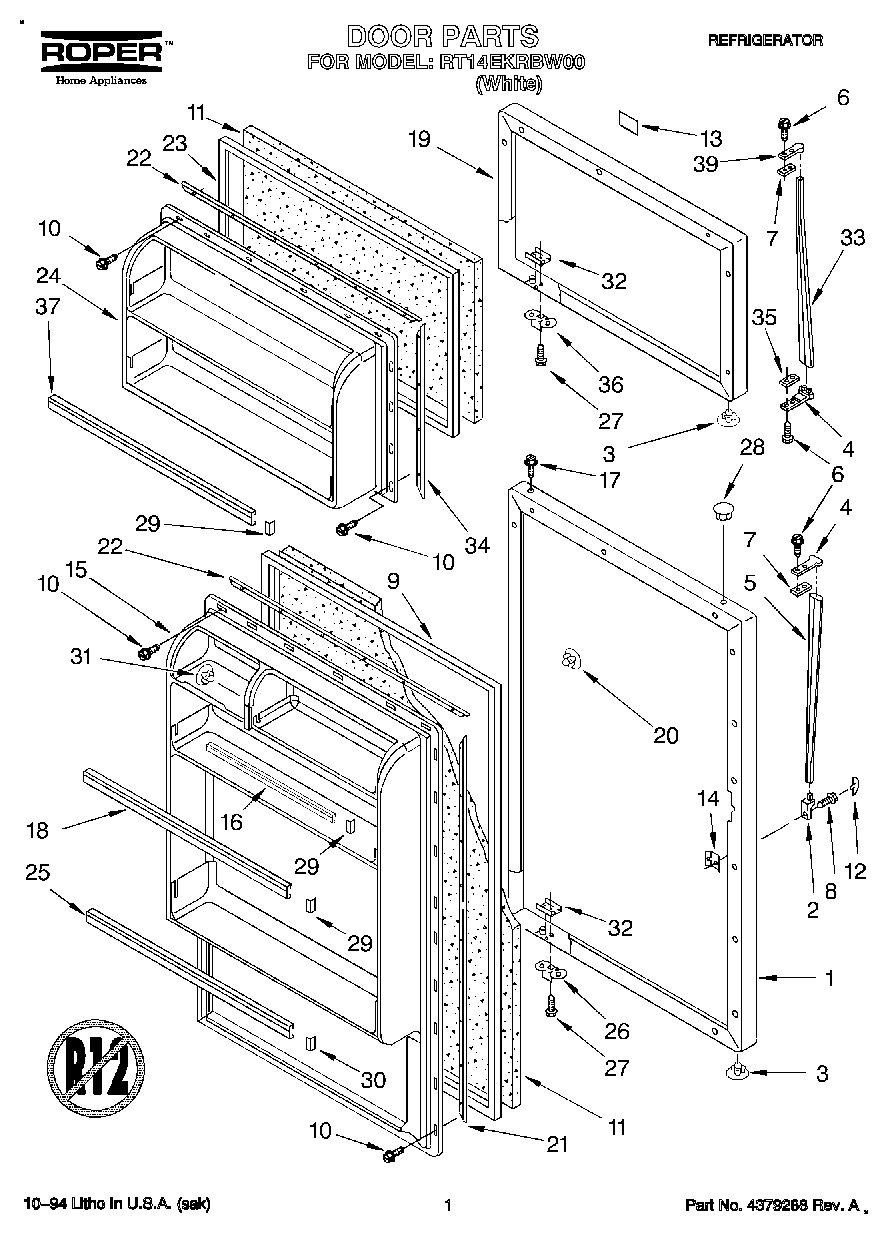
RT14EKRBW00 01 – DOOR