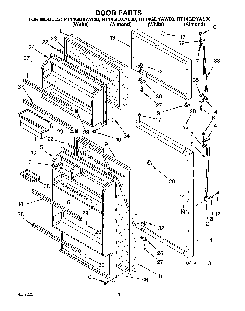
RT14GDYAL00 02 – DOOR