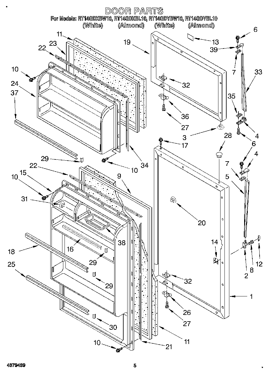
RT14GDYBL10 03 – DOOR