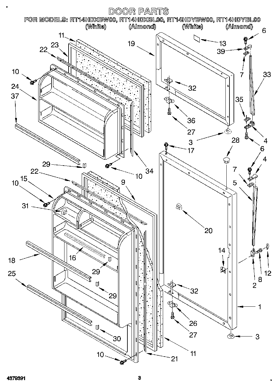
RT14HDXBW00 02 – DOOR