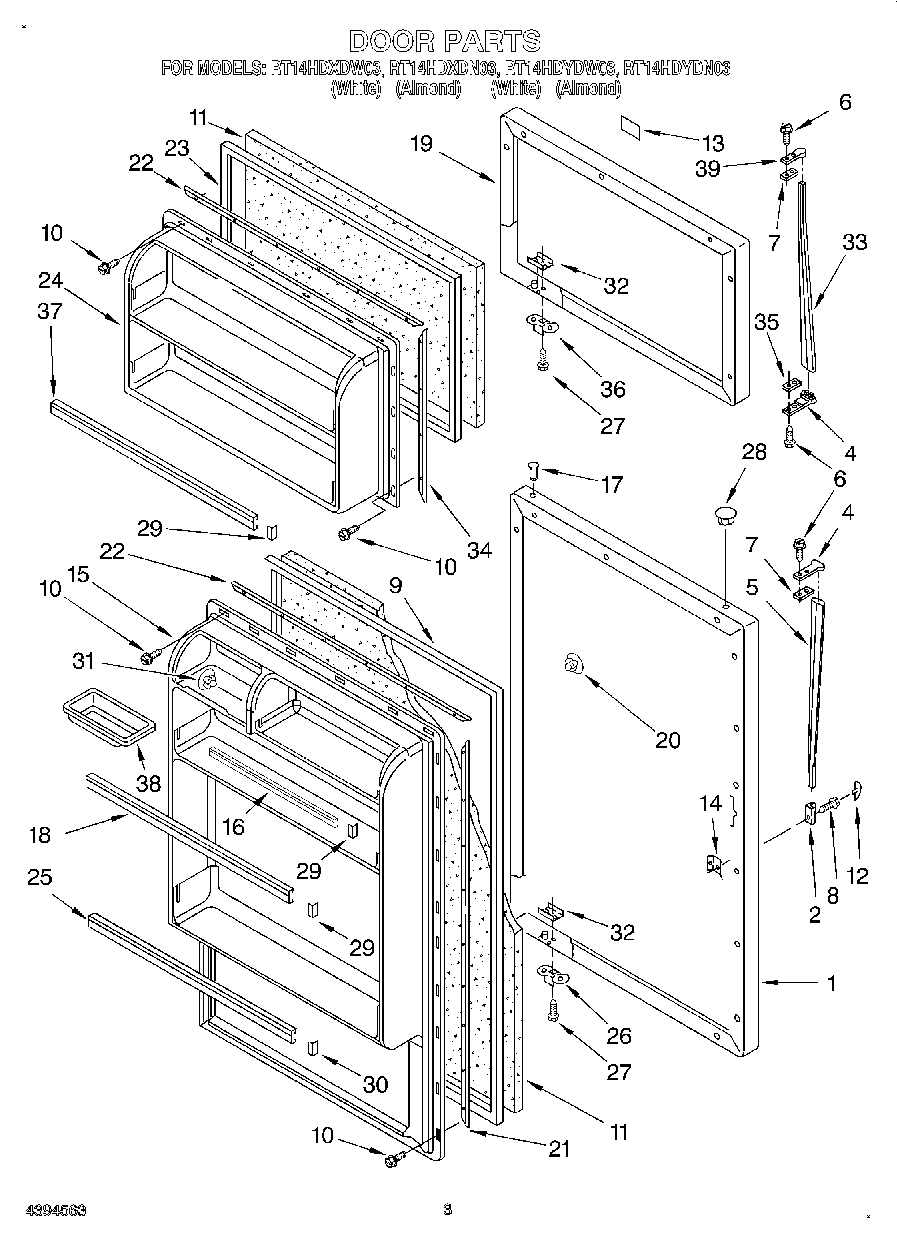
RT14HDXDW03 02 – DOOR