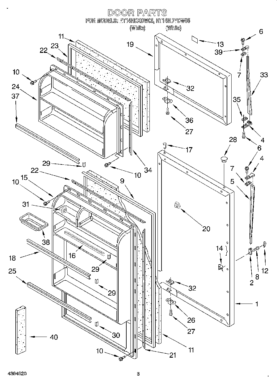
RT14HDXDW05 02 – DOOR