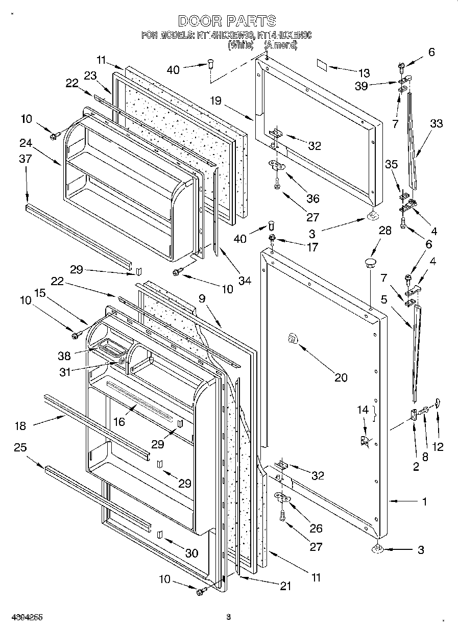
RT14HDXEN00 02 – DOOR