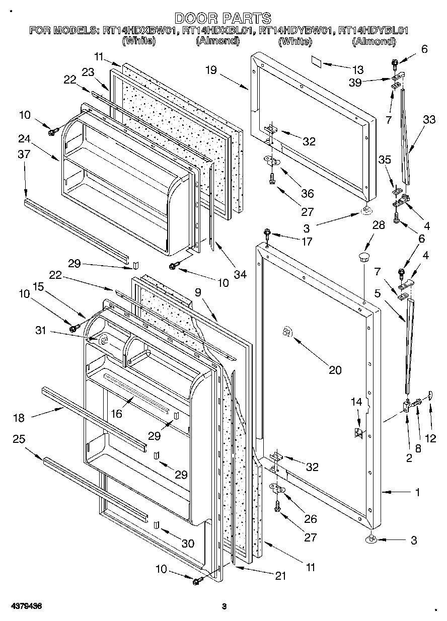
RT14HDYBL01 02 – DOOR