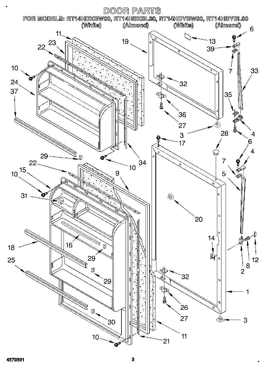
RT14HDYBW00 02 – DOOR